<li id="aaaaa"></li>
  • <tt id="aaaaa"></tt>
  • <tt id="aaaaa"></tt>
  • <tt id="aaaaa"><rt id="aaaaa"></rt></tt>
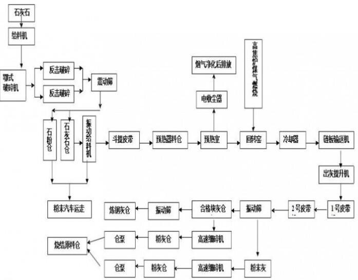
  • 回轉窯煅燒工藝流程圖

    點擊次數:   更新時間:21/05/14 09:09:05     來源:www.jxptk.cn關閉分    享:

      回轉窯的種類多,在不同的行業領域中使用時都能有所適合的,比如化工行業、水泥行業等。從煅燒方法來看它可分為干法和濕法,為了幫助大家對其工藝有更好的了解,我們通過它的工藝流程來認識下。
      1、濕法回轉窯煅燒的工藝流程是:原料進入生料倉后, 經充氣均化后的生料喂入預熱器, 回轉窯內的生料和熱氣流進行熱交換, 在到達旋風筒后進入分析爐內進行分解煅燒,之后在五級旋風筒煤進行料氣分離,物料進入窯內接著煅燒,窯頭收的粉塵與出篦冷機的熟料回合,經襯板輸送機送入三個熟料庫,冷卻劑高溫的地方熱風經部分的搖頭罩在窯內的部分作為二次風, 進入分解爐的部分作為三次風,冷卻機中溫段熱風入煤磨烘干原煤,剩余的其他經電收塵除塵后排入大氣中,對于廢氣,封過高溫風機抽吸,再加上增濕降溫后將作為原料系統的烘干熱源或經窯尾除塵排出。
      2、水泥回轉窯的工藝流程:主要是以石灰石和粘土為主要原料,經破碎、配料、磨細制成生料,喂入水泥回轉窯中煅燒成熟料,加入適量石膏(有時還摻加混合材料或外加劑)送入窯內進行碾磨,在窯內燃燒產生熱量,熱量通過氣體傳導或者輻射對物料進行加熱,同時隨著窯體按照設計的斜度和轉速不停轉動,原料也在窯內周期性的翻滾前進,從而把原料由進料端輸送到出料端。
      3、在回轉窯煅燒工藝流程中需要大家注意回轉窯輪帶的結構,在設計其輪帶的時候要遵循“鑄件各部分冷卻速度均勻”的原則,來減少鑄造的適應能力,在輪帶兩側要以擋板或擋圈來限制輪帶沿回轉窯筒體筒體軸向竄動。
      需要注意的是,回轉窯煅燒過程中,為了提高物料煅燒的質量和產量,應盡可能的提高煅燒帶的長度和溫度,因為溫度越高,煅燒帶越長,物料煅燒的質量就越好,可以有效提高工作效率和工作質量。

    回轉窯煅燒工藝流程圖

     

     

    淄博圣元窯爐工程有限公司 
    公司地址:淄博市張店區共青團西路121甲1號8號樓412號
    分公司地址:淄博高新區四寶山尚莊工業園
    聯系人:王貴香
    手機:13864405188 
    聯系人:劉偉
    手機:13964310299
    電話:0533-2211486
    E-mail:shengyuanyaolu@163.com
    郵 編:255020

    <li id="aaaaa"></li>
  • <tt id="aaaaa"></tt>
  • <tt id="aaaaa"></tt>
  • <tt id="aaaaa"><rt id="aaaaa"></rt></tt>
  • 性一交一乱一透一a级 永川市| 营山县| 灵川县| 永昌县| 邵阳市| 兴山县| 边坝县| 建瓯市| 富锦市| 垣曲县| 健康| 砀山县| 嘉禾县| 昆明市| 大足县| 临海市| 五常市| 屯昌县| 普兰店市| 浦东新区| 鹤岗市| 绵阳市| 安远县| 吉林省| 沙洋县| 黄龙县| 内黄县| 浮梁县| 红原县| 伊春市| 六安市| 苍山县| 鄂托克前旗| 桐梓县| 台南市| 长汀县| 凌源市| 江北区| 贵定县| 冕宁县| 福建省| http://444 http://444 http://444